您的位置 > 资源库 > 技术资讯
在线服务资源库
自力式蒸汽减压阀应用于阀前压力波动较大的蒸汽管道

自力式平衡型蒸汽减压阀应用于阀前压力波动较大的蒸汽管道:
  
一、自力式平衡型蒸汽减压阀特点:
  
  ◇自力式平衡型蒸汽减压阀无需外加能源,能在无电无气的场所工作,既方便又节约了能源。
  
  ◇压力分段范围细且互相交叉,调节精度高。
  
  ◇压力设定值在运行期间可连续设定。
  
  ◇对阀后压力调节,阀前压力与阀后压力之比可为10:1~10:8。
  
  ◇橡胶膜片式检测,执行机构测精度高、动作灵敏。
  
  ◇采用压力平衡机构,使调节阀反应灵敏、控制精确。
  
  ◇使用不锈钢波纹管的无摩擦阀杆密封。
  
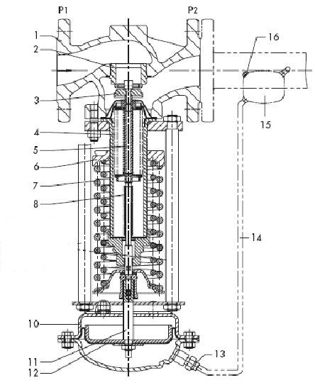
  ◇全平衡阀型配有平衡波纹管。阀后压力P2作用在波纹管的内表面,阀前压力P1作用在波纹管的外表面,从而使作用在阀芯上的阀前和阀后产生的压力被平衡。
  
二、自力式平衡型蒸汽减压阀的具体细节:
  
  自力式平衡型蒸汽减压阀控制过程的控制精度(偏差)和稳定性取决于回路里的干扰(例:上游压力和流量)。自力式平衡型蒸汽减压阀的设计使上述干扰影响相对小一些。阀芯上的不平衡作用力取决于上有压力或压差,可以通过平衡法新来使其消除。在非平衡的阀型里,阀芯上产生的不平衡力由受力截面积和压差(△P=P1-P2)决定。
  
  对于配有压力平衡阀芯的自力式控制阀,不平衡力作用基本上被抵消,该类型适合处理大幅度的压降。
                                            
  上图所示的自力式平衡型蒸汽减压阀,其金属波纹管使上游压力达到平衡,并实现密闭的、无摩擦的阀杆密封。
 

       富阳派沃阀门有限公司产品主要包括自力式压力调节阀,气动薄膜调节阀,电动调节阀,蝶阀,球阀等五大系列。主要产品有气动薄膜调节阀,自力式压力调节阀,气动快速切断阀,氮封阀,电动温度调节阀,导热油专用调节阀,蒸汽减压阀等。

ky棋牌官方正版下载 - ky棋牌2025最新版下载V39.39.6.95 安卓版 - 2265安卓网