一、自力式波纹管密封型压力调节阀(自力式减压阀)密封形式特点:
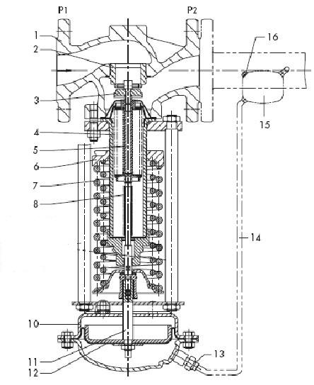
自力式波纹管密封型压力调节阀(自力式减压阀)其上阀盖采用波纹管密封结构,适用于极毒、易燃易爆易挥发和稀有贵重金属介质管道的压力调节。另该阀也适用于真空的场合。

二、自力式波纹管密封型压力调节阀特点:
◇自力式压力调节阀无需外加能源,能在无电无气的场所工作,既方便又节约了能源。
◇压力分段范围细且互相交叉,调节精度高。
◇压力设定值在运行期间可连续设定。
◇对阀后压力调节,阀前压力与阀后压力之比可为10:1~10:8。
◇橡胶膜片式检测,执行机构测精度高、动作灵敏。
◇采用压力平衡机构,使调节阀反应灵敏、控制精确。
◇使用不锈钢波纹管的无摩擦阀杆密封。
◇全平衡阀型配有平衡波纹管。阀后压力P2作用在波纹管的内表面,阀前压力P1作用在波纹管的外表面,从而使作用在阀芯上的阀前和阀后产生的压力被平衡。
富阳派沃阀门有限公司产品主要包括自力式压力调节阀,气动薄膜调节阀,电动调节阀,蝶阀,球阀等五大系列。主要产品有气动薄膜调节阀,自力式压力调节阀,气动快速切断阀,氮封阀,电动温度调节阀,导热油专用调节阀,蒸汽减压阀等。