带指挥器操作型自力式压力调节阀的工作原理及选型
一、带指挥器操作型自力式压力调节阀的概述:
带指挥器操作型自力式压力调节阀无需外加能源,利用被调介质自身能量为动力源,自动控制阀门介质流量,使阀后压力保持恒定的压力稳定装置。现已广泛应用于连续送气的天然气采输,城市煤气以及储罐氮封系统和冶金、石油、化工等工业生产部门。
二、带指挥器操作型自力式压力调节阀的特点:
三、带指挥器操作型自力式压力调节阀特点:
1、控制精度高,可比一般ZZY型直接操作型调压阀高一倍左右。调节压差比大(如阀前0.8MPa、阀后0.001MPa)特别适合微压气体控制。
2、压力设定在指挥器上实现,因而方便、快捷、省力省时可在运行状态下连续设定。
3、带指挥器操作型自力式压力调节阀采用指挥器操作,减压比可达100:1,减压效果好,控制精度高;
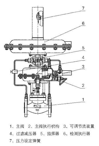
四、带指挥器操作型自力式压力调节阀的结构:

来源:自力式压力调节阀http://www.zdskqw.cn 转载注明。