您的位置 > 资源库 > 技术资讯
在线服务资源库
气动活塞式球阀按球体结构分类及优点

1.整体球球阀-----例如:气动切断球阀、电动切断球阀
调节阀问答图片  
  整体球是球阀启、闭件最常用的结构形式。所谓整体球,即是在一只完整的球体上加工出直通、三通以及多通圆截面孔流道,这种球体通常用于“闭路”球阀。此外,整体球的流道截面还可以加工成圆锥形孔(图2-17)、三角形锥孔以及其它曲线形状的流通截面。这些特殊流道截面形状的球阀,一般作为节流阀用。应当指出,由于球阀阀座系氟塑料等软质材料制成,一般不耐冲刷,将球阀用于节流场合并不十分理想。但对于密封要求不严格、或与其它闭路阀(如截止阀、闸阀等)配合使用的场合,并用耐流体冲刷的金属材料制造阀座时,用于节流场合尚可。
  
2.半球体球阀-气动偏心半球阀气动V型切断球阀气动V型调节球阀
  
  球阀往往是靠阀后或阀前阀座达到单面密封的,只有极个别特殊场合才使用阀前、阀后双面密封。因此,在通常情况下,只有一半球面起密封作用。于是,产生了的图2-18所示的半球体球阀。
调节阀问答图片  
  半球体球阀的主要优点是球体重量轻,精加工表面积小,并能减小球阀启动时的惯性力,因此,这种球阀开始受到重视。
调节阀问答图片  
  图2-29 V形缺口半球体球阀
  
  图2-19所示的V形球阀,球体结构虽属半球体球阀,但其设计构思和用途却不同。V形球阀主要用于输送纤维和纸浆等介质。球体上的V形缺口能起切断机作用,以避免纤维物料粘在球体、阀体和阀座之间。此外,V形球阀还广泛用来调节流体流量(见后)。
  
3.截球体球阀--气动偏心旋转球阀电动偏心旋转球阀
  
  截球体球阀系将整体球截取其一弓形或扇形体作为关闭件,从而在保持原有普通球阀密封性能的基础上,达到减轻球体重量,减少球面加工面积,降低生产成本的目的。
  
  (1)弓形截球体球阀
  
  弓形截球体球阀又称偏心旋转调节阀或凸轮挠曲阀,于本世纪60年代初由美国梅索尼兰国际公司(Masoneilan Inter CO.)法国分公司研制成功。
调节阀问答图片  
  图2-20 弓形截球体球阀原理图
调节阀问答图片  
  图2-21 气动弓形截球体球阀原理图
  
  1-阀座 2-截球体 3-轴套 4-轴 5-气缸 6-连杆 7-手轮
  
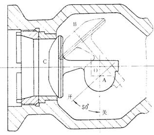
  弓形截球体球阀的作用原理如图2-20、2-21所示。其关闭件2为一弓形截球体,当气缸5的活塞杆推动连杆机构6而带动关闭件(截球体)2绕旋转中心A转动时,截球体球面上之B点则绕旋转中心A,由B移动到C,此时相对于阀体中心0,从B到C的轨迹为一凸轮状偏心,向下进入阀座,使阀门关闭并保持密封。
  
  由于该阀存在上述凸轮偏心,使气动装置在带动阀门关闭件从开启到关闭过程中,作用在阀座上的密封力逐渐增加。即使阀门关闭件的球形表面与阀座密封面由完全脱离至接触,并逐渐增大其密封比压,直至完全密封,反之亦然。这就大大改善了普通球阀的密封状况和密封效果,为在球阀上使用硬质密封材料,如各种金属及硬质合金等,创造了有利条件,为在高温、高压及磨损严重的场合使用球阀开辟了路径。
  
  此外,该阀由于采用了弓形截球体及对夹式连接,省去了一对连接法兰,所以重量轻,一般比通用球阀轻三分之一以上。因此,弓形截球体球阀的出现,标志着球阀技术进入了新的阶段。
调节阀问答图片  
  图2-22 弓形截球体球阀的流量特性曲线
  
  1-直线特性曲线 2-弓形截球体球阀的特性曲线 3-等百分比特性曲线
  
  该阀流通能力大,比单座和双座式调节阀分别大50%和20%以上,调节性能好,流量特性为修正等百分比曲线——近似于线性特性(见图2-22)。因此弓形截球体球阀己大量用作调节阀,其次还当作耐磨、耐冲刷阀应用于含固体物料流体及高温、高压场合。
  
  (2)扇形截球体球阀
调节阀问答图片  
  图2-23 扇形截球体球阀
  
  1-右阀体 2-阀座 3-扇形截球体 4-滑动轴承 5-垫片 6-左阀体 7-阀杆 8-填料 9-填料压盖
调节阀问答图片  
  图2-24 扇形截球体球阀
  
  扇形截球体球阀的结构如图2-23及图2-24所示。它以扇形截球体为关闭件,除具有结构尺寸小、重量轻的优点外,还能使两条相交的流体管道由直角正交变成锐角(一般为45°)斜交,减小了流体阻力,并有利于管道布置。这种球阀的另一个特点是:在三个通道中,有两个通道在沟通时构成直线,相当于直通球阀。如将图2-23及图2-24所示之截球体反时针方向旋转180º后,A、B沟通即可。在管线布置时,可将A,B通道作为主管道使用。
  
  该阀的缺点是:由于截球体3系非中心对称体,当A、C通道沟通时,流体在关闭件扇形截球体上产生反冲力。截球体在该反冲力作用下使阀座2的密封力沿圆周的分布不均匀,造成偏斜磨损,导致渗漏。虽然有滑动轴承4起支承作用,能抵消部分不平衡力,但使滑动轴承磨损大。此外,在扇形截球体上需要加工出两个不同半径的密封球面,因此,机械加工困难。只有特殊需要场合才用这种球阀。

ky棋牌官方正版下载 - ky棋牌2025最新版下载V39.39.6.95 安卓版 - 2265安卓网